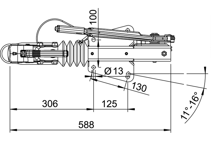
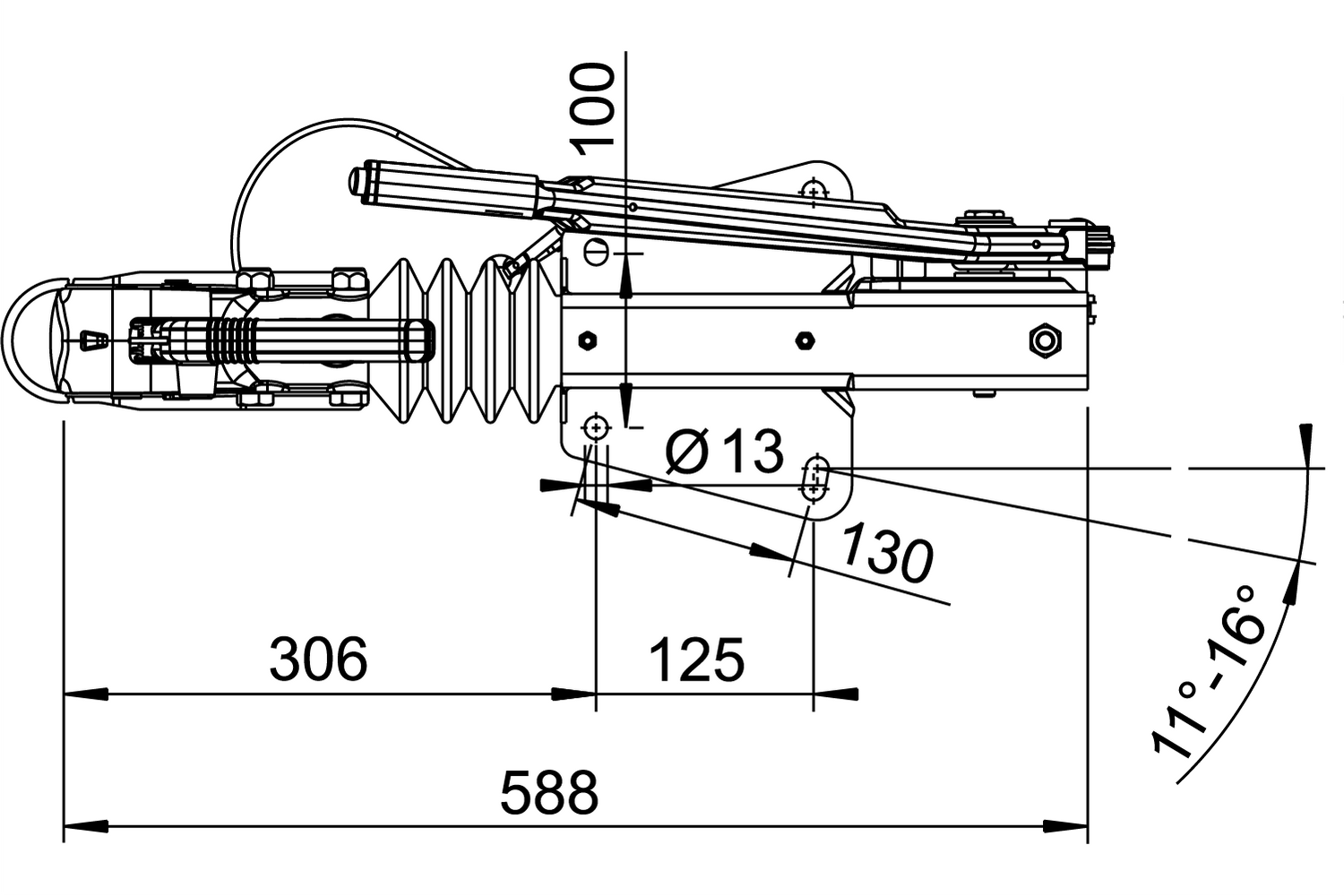
Nájezdové zařízení AL-KO 90S/3 se závěsem AK161 pro přívěs 1000 kg s ojí typu V
- Nájezdové zařízení/nájezdová brzda 90S/3 od AL-KO je určena pro přívěsy a přívěsy s ojí typu V, o celkové hmotnosti 700 kg až 1000 kg. Zařízení je vybaveno tažným kloubem AK 161.
Nájezdové zařízení AL-KO 90S/3 se závěsem AK161 pro přívěs 1000 kg s ojí typu V
Nájezdové zařízení 90S/3 od AL-KO je všestranné řešení určené pro přívěsy a brzděné přívěsy s ojí typu V o celkové hmotnosti 700 kg až 1000 kg . Vyznačuje se maximálním přípustným vertikálním zatížením 75 kg, což zajišťuje optimální rozložení nákladu mezi přívěs a tažné vozidlo. Zařízení 90S/3 je vybaveno tažným kloubem AK 161 zajišťujícím stabilní spojení s vozidlem a je kompatibilní s brzdovým mechanismem AL-KO 1636G/1637/2051. Konstrukce zařízení byla navržena pro montáž pouze na horní část oje, což zaručuje optimální činnost brzdového systému a poskytuje snadný přístup při údržbě.
Nájezdové zařízení je pokročilé řešení, které výrazně zlepšuje bezpečnost a komfort jízdy s přívěsem nebo odtahovým vozem . Díky jeho použití je možné zkrátit brzdnou dráhu a udržet stabilní jízdní stopu při brzdění soupravy . Zařízení automaticky zabrzdí tažené vozidlo spoluprací s brzdovým systémem vozu, což podporuje jeho činnost a ovlivňuje plynulost provozu. Použití nájezdového zařízení nejen zvyšuje bezpečnost silničního provozu, ale přispívá i ke snížení opotřebení brzdového systému tažného vozidla. Kromě toho je toto zařízení mimořádně funkční i při stání, což vám umožní účinně zablokovat vozidlo proti přejetí dopředu nebo dozadu.

Tažný kloub AK 161
Tažný kloub AK 161 od AL-KO zajišťuje pevné a bezpečné spojení s tažným vozidlem. Vybaven ergonomickou pákou s měkkou rukojetí zvyšuje komfort používání při připojování a odpojování přívěsu. Závěs má kryt Soft-Dock , který chrání zadní část vozidla před poškrábáním a nohy uživatele před nárazy při manévrování. Závěs je navíc vybaven pokročilými bezpečnostními systémy: indikátor opotřebení závěsu informující o nutnosti výměny prvků, indikátor správného spojení , zajišťující správné připojení a ochranu proti nesprávnému spojení , eliminující riziko náhodného rozpojení během jízdy.

Antikorozní ochrana
Nájezdové zařízení se žárově pozinkovaným ocelovým pláštěm využívá pokročilou technologii antikorozní ochrany. Proces galvanizace vytváří na celém povrchu prvku odolný povlak, který účinně chrání proti rzi, korozi a mechanickému poškození. Pouzdro odolává extrémním povětrnostním podmínkám, včetně vlhkosti, silniční soli a kolísání teplot , což je zásadní pro zařízení neustále vystavená obtížným silničním podmínkám. Díky této ochraně si zařízení zachovává své vlastnosti po dlouhou dobu a minimalizuje nutnost údržby a výměny. To se promítá do dlouhodobých úspor a spolehlivosti při provozu přívěsu.
Zakoupením jakéhokoli produktu z naší nabídky získáte záruku 2 roky. Díky tomu jej můžete používat bez obav z následků případné poruchy. V zájmu Vaší spokojenosti jsme maximálně zjednodušili proces podání případné reklamace - stačí vyplnit a odeslat formulář dostupný na našich stránkách.
Máte dotazy ohledně výběru nebo použití našich produktů? Kontaktujte nás! Specialisté společnosti Unitrailer vám rádi poskytnou jakékoli informace.


















